- Descrição do produto
-
Descrição do produtoPara a compensação de potencial funcionalidade/segurança sem faíscas de acordo com a DIN VDE 0100-410/-540, assim como compensação de potencial da proteção contra raios sem faíscas de acordo com a DIN VDE 0185-305 (IEC 62305) em instalações conforme a VDE 0165-1 (IEC/ EN 60079-14)
• Utilização nas áreas potencialmente explosivas Zona 1 e 2/21 e 22
• Testada de acordo com o grupo de explosão IIC
• Classe de capacidade de carga de corrente de raio H (100 kA) conforme a VDE 0185-561-1 (IEC/EN 62561-1)
• Pés isoladores livres de halogéneos e resistentes a UV
• Com anilha de pressão para o bloqueio dos parafusos contra o apagador automático conforme a VDE 0185-305-3
adenda 2
• Indicado para aplicações no interior e no exterior
-
- Dados técnicos
-
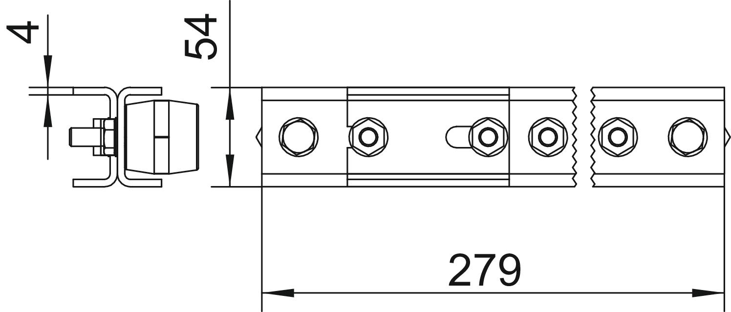
Dimensões
Altura 4 mm Capacidade de carga da corrente de raio H/100 kA Comprimento 279 mm Dimensão 5xM10 Isolante sim Largura 54 mm Material Aço inoxidável, livre de ferrugem 1.4301 Material da calha de contacto aço inoxidável (V2A) Material do borne aço inoxidável (V2A) Modelo Montagem fixa Número de ligações 5 Número de ligações de condutores planos até 40 mm 1 Número total de ligações de condutores redondos 5 Pegada de CO2 (GWP) do berço ao portão 7,7523 kg CO2e / 1 Peça Versão apenas bornes - Todos os tipos
- Downloads
-
Ficha técnica EX PAS 5 / 5015265 , 0.17MB , pdfNotas explicativas Guia para proteção contra descargas atmosféricas , 2.10MB , pdfDeclaração de conformidade UE EX PAS 5 / 5015265 , 0.13MB , pdfDeclaração do fabricante EX PAS 5 / 5015265 , 0.05MB , pdfREACH Declaração de conformidade EX PAS 5 / 5015265 , 0.12MB , pdfRoHS Declaração de conformidade EX PAS 5 / 5015265 , 0.13MB , pdfRelatório de teste Relatório de teste DEKRA EX PAS , 0.04MB , pdfInstruções de montagem Instruções de montagem Régua equipotencial de terras EX PAS , 2.00MB , pdfInstruções de instalação Instruções de montagem e de instalação Régua equipotencial de terras 1802... , 2.00MB , pdfNão estão disponíveis quaisquer memórias descritivas para este produto
Portugal - Português